据新民晚报,附近市民介绍,开云体育 kaiyun.com 官网入口当时看到北青公路上一家单位内的装置部位不断有黑烟冒出。还有其他市民称,

6月8日,@上海消防微博发布情况通报:6月8日8点16分,青浦区北青公路8205号一企业装置区域发生爆燃起火,市119指挥中心接警后,立即调派消防救援力量赶赴现场处置。目前,现场明火已被扑灭,事故造成一人死亡,一人受伤送医治疗。


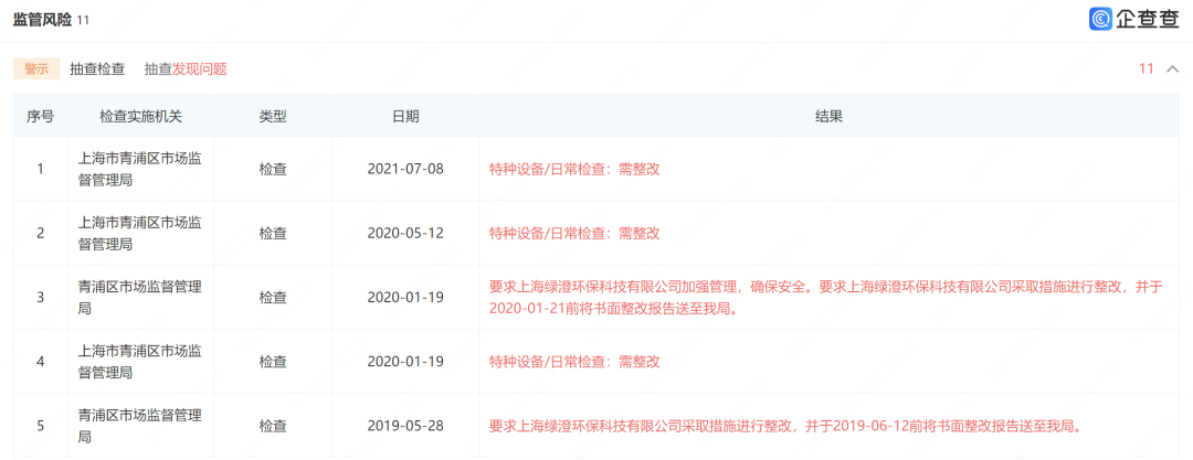
公开信息显示,上海市青浦区北青公路8205号为“上海绿澄环保科技有限公司”。开云 开云体育

该公司成立于1993年,实缴注册资本7344万元,社保参保人数71人。公司从事再生资源回收利用、危险废物处置及各类环保节能技术开发应用业务。企业法定代表徐全林,同担任上海绿澄机电有限公司、上海正源再生资源利用有限公司等公司法定代表人,兼任另外几家企业的高管职务。

该公司拥有“核辐射利用安全许可证”“危险废物综合经营许可证”等49项行政许可。

此外,开云 开云体育该公司还是全国高新技术企业认定管理工作领导小组办公室认定的高新技术企业。


据政务:上海应急守护5月30日发布,按照《上海市应急管理局2023年度安全生产执法计划》,结合危险化学品企业装置设备带“病”运行安全等10个专项整治和重大危险源年度第一次督导检查,本市市区两级应急管理部门2023年6月计划执法检查各类生产经营单位539家。

如需转载请与《每日经济新闻》报社联系。未经《每日经济新闻》报社授权,严禁转载或镜像,违者必究。
特别提醒:如果我们使用了您的图片,请作者与本站联系索取稿酬。如您不希望作品出现在本站,可联系我们要求撤下您的作品。
13米高“恶龙”被火焰吞噬,现场火光冲天!一迪士尼乐园突发火灾,观众还以为是新节目…
“520”成都生活节消费热力持续,开云体育 kaiyun.com 官网入口5月25日京东到家5000万元消费券来袭
幼儿园员工在小便池清洗孩子餐具,当地通报:属实,已责令停业!家长:看到后果断退学了
“打不了电话、上不了网,还没信号!”中国电信广东全省突然崩了:连10000号都打不通!最新回应来了
拓维信息8分钟拉涨停,多位选手提前上车!第一名选手冲刺50%收益!明日将揭晓冠军,第12期比赛周六开始报名!